- 雷達液位計料位計系列產品
- 壓力/液位/差壓/密度變送器
- 液位儀表系列
- 流量儀表系列
- 物位儀表系列
- 液位/溫度/壓力/流量-報警儀
- PLC/DCS自動化控制監控系統
- GPRS無線遠傳裝置
- 有紙/無紙記錄儀系列
- 溫度儀表系列
- 分析儀|檢測儀|校驗儀系列
全國銷售熱線:400-9280-163
電話:86 0517-86917118
傳真:86 0517-86899586
銷售經理:1560-1403-222 (丁經理)
??? ? ? ? 139-1518-1149 (袁經理)
業務QQ:2942808253 / 762657048
網址:http://m.hnbz8.com
電話:86 0517-86917118
傳真:86 0517-86899586
銷售經理:1560-1403-222 (丁經理)
??? ? ? ? 139-1518-1149 (袁經理)
業務QQ:2942808253 / 762657048
網址:http://m.hnbz8.com
磁翻板液位計在煤層氣分離器的應用中如何消除假液位
發表時間:2019-04-17 ??點擊次數:691? 技術支持:1560-1403-222
摘要:從磁翻板液位計出現“假液位”的原因入手,對該問題進行詳細的分析,提出在氣液分離器下端與液位計連通的部位加裝前置過濾裝置的新思路。當食鹽水過濾液密度大于氣液分離器內混合液(水、乳化油、煤粉)密度時,食鹽水過濾液會沉入裝置的下部并通過液位計連接管進入液位計內,從而隔絕了液位計與氣液分離器內混合液的接觸,利用U型管原理就可以等量準確讀出被測介質的液位。該裝置在現場應用以后效果顯著,分離器液位計計量誤差從措施前40 %下降為2% o關鍵詞:煤層氣液位計計量誤差安全隱患集輸
1、假液位”的形成機理
“假液位”的形成是由多方面因素疊加以及影響導致的。通過對煤層氣的地質排采、集輸設備、管道運行、材料等生產全過程進行梳理,認為“假液位”的形成主要受三方面因素影響:
(1)受煤層氣特有的儲層條件和排水采氣、水力壓裂等工藝的影響,采出的煤層氣往往會攜帶一定含量的水分和粉煤灰等微小顆粒。
(2)煤層氣在集輸過程中多采用往復式壓縮機進行增壓運輸。由于多數往復式壓縮機在露天環境下現場作業,這就很容易為高置油箱和強制潤滑油泵帶來加油口密封失效問題,潤滑油將會隨著煤層氣而進人下游流程,同時煤層氣中往往會含有一定量水分,所以經過壓縮處理后的煤層氣里總會摻雜進一定量的乳化油。
( 3)受集輸系統管壓波動的影響,為了提高煤層氣集輸效率,保障管線安全平穩運行,通常會定期進行清管作業。清管作業會將水、粉煤灰和乳化油的混合液帶人氣液分離器內,其充分混合后會形成一種具有粘性糊狀的黑色液體。該糊狀液體進人液位計內會粘連在管壁上,形成‘假液位”。
2‘假液位”對常用液位計的影響
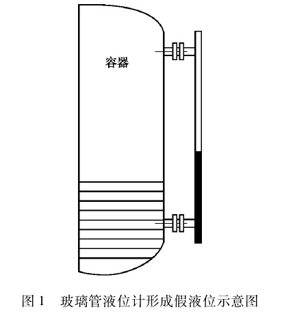
2. 1“假液位”對玻璃管式液位計的影響
玻璃管液位計是根據連通器原理制作而成,儀表上下閥門均裝有連接法蘭,與被測容器連接在一起而構成連通器,從而在玻璃管上可直接顯示容器內介質液位的高度。由于煤層氣在集輸過程中往往會將黑色粘性糊狀混合液帶人氣液分離器液位計內,所以在液位升高又降低后,黑色粘性糊狀混合液還是會粘連在玻璃管上,從而造成觀測液位出現誤差,導致讀數不準確,如圖1所示。
2. 2“假液位”對磁翻板液位計的影響
磁翻板液位計根據連通器原理、浮力原理和磁
圖1玻璃管液位計形成假液位示意圖
性作用制作而成。當被測容器中的液位升降時,液位計本體管中的磁性浮子也隨之升降,浮子內的**磁鋼通過磁藕合傳遞到磁翻板液位計的磁翻柱指示器,驅動紅、白翻柱翻轉1800,當液位上升時翻柱由白色轉變為紅色,當液位下降時翻柱由紅色轉變為白色,指示器的紅白交界處為容器內部液位的實際高度,從而實現液位清晰的指示。然而在實際生產中,浮子一旦與進人到液位計的黑色糊狀粘性混合液粘連后,就不會隨著液面的上升下降而上下移動,因此造成液位不準確。如圖2所示。
3液位計前置過濾裝置
3. 1過濾液設計思路
無論是玻璃管式液位計還是磁翻板式液位計都會出現‘暇液位”的問題,造成計量不準確。為解決該問題,嘗試在氣液分離器與液位計下部連通
圖2磁翻板液位計形成假液位示意圖
處(液位計進口處)加裝前置過濾裝置,該裝置里面充填著食鹽水。采用食鹽水作為過濾溶液主要是基于四方面考慮:
y)‘暇液位”往往是受含有粉煤灰以及乳化油黑色糊狀粘稠的混合液所致,根據相似相溶性原理,只能選擇無機溶劑進行分層;
(2)常見的無機鹽溶液諸如氯化鉀、硫酸鉀、硫酸鈉等溶液雖然具有一定的破乳性,也具備易分層的特性,但是成本過高;
( 3)食鹽水具有破乳性,易分層的特性;
(4)對比其他無機鹽溶液,食鹽溶液(氯化鈉)更常見,易購置,性價比高。
除此之外,還需要慎重考慮食鹽水過濾液的密度。如果食鹽水的密度過小,會導致黑色糊狀粘稠的混合液與食鹽水過濾液混合共同進人液位計中,會直接影響液位計的前置過濾裝置的過濾效果。
3. 2前置過濾裝置總體結構
前置過濾裝置由罐體、進液管、排污管、沖洗管、液位計連接管、伴熱帶、保溫層組成。罐體下端有傾斜面,排污管位于罐體底部,并連接有排污閥門;沖洗管位于罐體**,并連接有沖洗閥門;進液管位于罐體上部,一端有法蘭與氣液分離器連接,另一端伸人罐體內,上部有小通孔;液位計連接管上有連接管閥門,通過法蘭與液位計連接;伴熱帶和保溫層包裹在罐體外面,如圖3所示。
圖3前置過濾裝置結構示意圖
3. 3液位計前置過濾裝置工作原理
該裝置通過沖洗管向罐體內加人食鹽水過濾液,因為過濾液的密度大于氣液分離器內混合液(水、乳化油、煤粉)的密度,所以灌人的過濾液會沉人罐體的下部并通過液位計連接管進人液位計內,從而隔絕了液位計與氣液分離器內混合液的接觸,避免了水、粉狀煤灰和乳化油的混合液對氣液分離器液位計的不良影響,這樣,利用U型管原理就可以等量準確讀出被測介質的液位。
4前置過濾裝置現場實踐
4. 1現場應用區域概況
華北油田山西煤層氣中央處理廠是我國*先個整裝規模煤層氣田建設核心工程。該廠區處于我國北方高原地區,位于沁水縣金峰村,占地127. 3畝,設有脫水區、集配氣區、增壓區三個主生產區及其配套設施,一期工程設計年產煤層氣10億耐,整體工程建成后,總處理規模達到30億畝。自2009年8月投人運行以來,該廠區氣液分離器液位計一直飽受‘暇液位”問題的困擾。以1號氣液分離器和4號氣液分離器為例,1號氣液分離器采用玻璃管式液位計計量液面,4號氣液分離器采用磁翻板式液位計計量液面。據不完全統計,2016年全年,1號和4號氣液分離器出現假液位造成計量誤差的天數分別達到146天和138天。這不僅影響了煤層氣集輸系統的集輸效率,也給集輸系統帶來巨大安全隱患。
4. 2應用效果評價
2017年2月,在華北油田中央處理廠1號氣液分離器和4號氣液分離器嘗試加裝前置過濾裝置(如圖4所示),對其效果進行現場驗證。經過一年的持續觀察,華北油田煤層氣中央處理廠1號和4號氣液分離器液位計,均能真實地反映液位升降情況,出現計量誤差的天數由140天左右分別降至8天和6天左右,計量誤差率也由措施前40%下降為措施后2%。口前該裝置已在華北油田山西煤層氣分公司全面推廣應用。
4. 3見效原因分析
( 1)前置過濾裝置內食鹽水過濾液的密度大于氣液分離器內混合液的密度,從而會沉人裝置內下部進人液位計內,隔絕了液位計與氣液分離器內混合液的接觸,這就為準確讀出液位數值提供了重要基礎。
( 2)由于是在氣液分離器與液位計下部連通
圖4 4號氣液分離器前置過濾裝置示意圖處(液位計進口處)加裝前置過濾裝置,
上一條:詳述雷達物位計在石灰石倉位物位測量中的應用
下一條:如何降低溫度對此磁翻板液位計的影響?
1、假液位”的形成機理
“假液位”的形成是由多方面因素疊加以及影響導致的。通過對煤層氣的地質排采、集輸設備、管道運行、材料等生產全過程進行梳理,認為“假液位”的形成主要受三方面因素影響:
(1)受煤層氣特有的儲層條件和排水采氣、水力壓裂等工藝的影響,采出的煤層氣往往會攜帶一定含量的水分和粉煤灰等微小顆粒。
(2)煤層氣在集輸過程中多采用往復式壓縮機進行增壓運輸。由于多數往復式壓縮機在露天環境下現場作業,這就很容易為高置油箱和強制潤滑油泵帶來加油口密封失效問題,潤滑油將會隨著煤層氣而進人下游流程,同時煤層氣中往往會含有一定量水分,所以經過壓縮處理后的煤層氣里總會摻雜進一定量的乳化油。
( 3)受集輸系統管壓波動的影響,為了提高煤層氣集輸效率,保障管線安全平穩運行,通常會定期進行清管作業。清管作業會將水、粉煤灰和乳化油的混合液帶人氣液分離器內,其充分混合后會形成一種具有粘性糊狀的黑色液體。該糊狀液體進人液位計內會粘連在管壁上,形成‘假液位”。
2‘假液位”對常用液位計的影響
2. 1“假液位”對玻璃管式液位計的影響
玻璃管液位計是根據連通器原理制作而成,儀表上下閥門均裝有連接法蘭,與被測容器連接在一起而構成連通器,從而在玻璃管上可直接顯示容器內介質液位的高度。由于煤層氣在集輸過程中往往會將黑色粘性糊狀混合液帶人氣液分離器液位計內,所以在液位升高又降低后,黑色粘性糊狀混合液還是會粘連在玻璃管上,從而造成觀測液位出現誤差,導致讀數不準確,如圖1所示。
2. 2“假液位”對磁翻板液位計的影響
磁翻板液位計根據連通器原理、浮力原理和磁

性作用制作而成。當被測容器中的液位升降時,液位計本體管中的磁性浮子也隨之升降,浮子內的**磁鋼通過磁藕合傳遞到磁翻板液位計的磁翻柱指示器,驅動紅、白翻柱翻轉1800,當液位上升時翻柱由白色轉變為紅色,當液位下降時翻柱由紅色轉變為白色,指示器的紅白交界處為容器內部液位的實際高度,從而實現液位清晰的指示。然而在實際生產中,浮子一旦與進人到液位計的黑色糊狀粘性混合液粘連后,就不會隨著液面的上升下降而上下移動,因此造成液位不準確。如圖2所示。
3液位計前置過濾裝置
3. 1過濾液設計思路
無論是玻璃管式液位計還是磁翻板式液位計都會出現‘暇液位”的問題,造成計量不準確。為解決該問題,嘗試在氣液分離器與液位計下部連通

處(液位計進口處)加裝前置過濾裝置,該裝置里面充填著食鹽水。采用食鹽水作為過濾溶液主要是基于四方面考慮:
y)‘暇液位”往往是受含有粉煤灰以及乳化油黑色糊狀粘稠的混合液所致,根據相似相溶性原理,只能選擇無機溶劑進行分層;
(2)常見的無機鹽溶液諸如氯化鉀、硫酸鉀、硫酸鈉等溶液雖然具有一定的破乳性,也具備易分層的特性,但是成本過高;
( 3)食鹽水具有破乳性,易分層的特性;
(4)對比其他無機鹽溶液,食鹽溶液(氯化鈉)更常見,易購置,性價比高。
除此之外,還需要慎重考慮食鹽水過濾液的密度。如果食鹽水的密度過小,會導致黑色糊狀粘稠的混合液與食鹽水過濾液混合共同進人液位計中,會直接影響液位計的前置過濾裝置的過濾效果。
3. 2前置過濾裝置總體結構
前置過濾裝置由罐體、進液管、排污管、沖洗管、液位計連接管、伴熱帶、保溫層組成。罐體下端有傾斜面,排污管位于罐體底部,并連接有排污閥門;沖洗管位于罐體**,并連接有沖洗閥門;進液管位于罐體上部,一端有法蘭與氣液分離器連接,另一端伸人罐體內,上部有小通孔;液位計連接管上有連接管閥門,通過法蘭與液位計連接;伴熱帶和保溫層包裹在罐體外面,如圖3所示。

3. 3液位計前置過濾裝置工作原理
該裝置通過沖洗管向罐體內加人食鹽水過濾液,因為過濾液的密度大于氣液分離器內混合液(水、乳化油、煤粉)的密度,所以灌人的過濾液會沉人罐體的下部并通過液位計連接管進人液位計內,從而隔絕了液位計與氣液分離器內混合液的接觸,避免了水、粉狀煤灰和乳化油的混合液對氣液分離器液位計的不良影響,這樣,利用U型管原理就可以等量準確讀出被測介質的液位。
4前置過濾裝置現場實踐
4. 1現場應用區域概況
華北油田山西煤層氣中央處理廠是我國*先個整裝規模煤層氣田建設核心工程。該廠區處于我國北方高原地區,位于沁水縣金峰村,占地127. 3畝,設有脫水區、集配氣區、增壓區三個主生產區及其配套設施,一期工程設計年產煤層氣10億耐,整體工程建成后,總處理規模達到30億畝。自2009年8月投人運行以來,該廠區氣液分離器液位計一直飽受‘暇液位”問題的困擾。以1號氣液分離器和4號氣液分離器為例,1號氣液分離器采用玻璃管式液位計計量液面,4號氣液分離器采用磁翻板式液位計計量液面。據不完全統計,2016年全年,1號和4號氣液分離器出現假液位造成計量誤差的天數分別達到146天和138天。這不僅影響了煤層氣集輸系統的集輸效率,也給集輸系統帶來巨大安全隱患。
4. 2應用效果評價
4. 3見效原因分析
( 1)前置過濾裝置內食鹽水過濾液的密度大于氣液分離器內混合液的密度,從而會沉人裝置內下部進人液位計內,隔絕了液位計與氣液分離器內混合液的接觸,這就為準確讀出液位數值提供了重要基礎。
( 2)由于是在氣液分離器與液位計下部連通
圖4 4號氣液分離器前置過濾裝置示意圖處(液位計進口處)加裝前置過濾裝置,
上一條:詳述雷達物位計在石灰石倉位物位測量中的應用
下一條:如何降低溫度對此磁翻板液位計的影響?
- 相關文章
-
- 雷達液位計的作用 【2025-11-18】
- 雷達液位計使用注意事項 【2025-11-18】
- 雷達液位計安裝注意事項全解析 【2025-11-14】
- 雷達液位計工作原理及相關說明 【2025-11-14】
- 浮子式液位變送器精度 【2024-01-06】
- 干簧管液位變送器型號 【2024-01-05】
- 液位壓力變送器芯片 【2023-12-16】
- 靜壓式液位變送器報價 【2023-12-15】
- 渦街流量計測量過熱蒸汽和飽和蒸汽在計算流量時需要注意的情況說明 【2020-07-17】
- 靜壓式液位變送器作用 【2023-12-31】








