- 雷達液位計料位計系列產品
- 壓力/液位/差壓/密度變送器
- 液位儀表系列
- 流量儀表系列
- 物位儀表系列
- 液位/溫度/壓力/流量-報警儀
- PLC/DCS自動化控制監控系統
- GPRS無線遠傳裝置
- 有紙/無紙記錄儀系列
- 溫度儀表系列
- 分析儀|檢測儀|校驗儀系列
全國銷售熱線:400-9280-163
電話:86 0517-86917118
傳真:86 0517-86899586
銷售經理:1560-1403-222 (丁經理)
??? ? ? ? 139-1518-1149 (袁經理)
業務QQ:2942808253 / 762657048
網址:http://m.hnbz8.com
電話:86 0517-86917118
傳真:86 0517-86899586
銷售經理:1560-1403-222 (丁經理)
??? ? ? ? 139-1518-1149 (袁經理)
業務QQ:2942808253 / 762657048
網址:http://m.hnbz8.com
防腐磁翻板液位計與容器連通管四氟內襯加工藝的介紹
發表時間:2019-08-19 ??點擊次數:808? 技術支持:1560-1403-222

磁翻板液位計大量地應用于各類槽罐工業容器的液位測量,不僅有各類水,有機深劑,更有各種具有腐蝕性的酸堿類液體的測量與控制,對一腐蝕性的液體測量液位的方式也有多種,防腐磁翻板液位計是其中zui為常見也zui為簡便的測量儀表。防腐型磁翻板液位計也有區分,比如在常溫常壓,外部環境不惡劣的情況下,選擇用PP材質或者PVC材質的磁翻板液位計不僅合適,也更為經濟。對于測量要求嚴格,環境復雜,測量介質的壓力和溫度都較高的情況下,則要選擇用不銹鋼內襯四氟的磁翻板液位計則更為安全與可靠。對于內襯四氟的磁翻板液痊計,不同的廠家加工工藝與選用材質有所不同,所以導致其zui終防腐磁翻板液位計的防腐效果差別很大,而這些差別大多是由防腐磁翻板液位計連接小管內襯的不同的加工工藝所導致的。下面,就以磁翻板液位計廠家防腐磁翻板液位磁翻板液位計廠家例,介紹下連接小管的內襯是如何加工的。

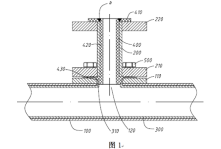
傳統防腐磁翻板液位計的連接小管一般采用內襯聚四氟乙烯進行加工。其主浮筒管的內襯是采用zui新的拉伸翻邊工藝,在浮筒管內表面緊襯一層聚四氟乙烯管材,兩端進行翻邊壓緊在法蘭的密封面上,使浮筒內壁與介質隔離,從而達到防腐的效果。
為方便與過程連接相連接,通常在靠近兩端口處需在四氟管面上拉伸出一個虎口形狀,形成三通結構。對該法蘭過程連接部分的內襯,國內很多廠家采用聚四氟乙烯棒料進行車削加工,然后將其穿過過程連接法蘭小管,通過拉伸翻邊獲得錐形密封結構,zui后用螺桿固定到主浮筒上。但由于聚四氟乙烯耐蠕變性能不好,容易產生冷流現象,用聚四氟乙烯面與聚四氟乙烯面的直接擠壓進行密封,時間一久,易引起泄漏,使得防腐效果很不理想。
二、磁翻板液位計廠家防腐磁翻板液位計連接小管的內襯是如何加工的
為改變上述不足,磁翻板液位計廠家自動化工程師們經過查閱并分析相關材料的特性后發現,聚全氟乙丙烯的耐蠕變性能比聚四氟乙烯好,使用聚全氟乙丙烯制成的錐形內襯與聚四氟乙烯相配合密封時,它的回彈性可以彌補聚四氟乙烯的彈性不足,從而保證可靠密封,于是確定采用聚全氟乙丙烯材料。
但是在實施的過程中,聚全氟乙丙烯塑料的模壓工藝非常復雜,制品易開裂和產生氣泡,不易控制。為解決該問題,在磁翻板液位計廠家公司研發人員的努力下,經過對材料的性能進行認真分析和研究,成功開發出聚全氟乙丙烯塑料的焊接工藝,從而克服了FEP粒料模壓容易產生氣泡、開裂等難題,提高了內襯的成功率,取得了較好的防腐效果。磁翻板液位計廠家自動化現已就該創新申請了發明,申請號為:201710919511.7。

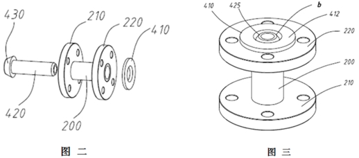
1、將小管與兩片法蘭焊接起來制成過程連接體,此小管與兩片法蘭通常為304不銹鋼或其他金屬材質;再將事先已注塑成形的FEP塑料帶錐形頭圓管穿過法蘭過程連接小管,該錐形頭圓管稍高出另一頭法蘭密封面;如圖二所示。
2、使用一片FEP材質的圓環平墊壓緊在圓管突出的這面法蘭上,錐形頭圓管與FEP圓環平墊相配合的面需要倒角形成“V”形槽;用專用夾具將FEP圓管錐形頭與圓環平墊壓緊在過程連接法蘭的兩面,如圖三所示。
3、進行完前面的操作后,焊接就是接下來的重點。焊接時使用PFA可熔聚四氟乙烯焊條,先用熱風焊槍對需要焊接的部位進行預熱,然后再將焊條對準到前面所描述的“V”形槽處,用熱風焊槍將該部位的焊條和連接面進行熔焊,一邊用焊槍熔焊一邊用力壓住焊條,使被焊接面焊透焊牢。
4、zui后一步,待焊接部分完全冷卻后,進行車削使焊接面平整。
內襯防腐磁翻板液位計適應于大多數強酸、強堿、有機溶劑等腐蝕性液體介質的測量,該工藝的成功應用,使產品的可靠性大為提高,產品的使用周期得以延長,生產的穩定進行得到了保障。
以上就是“磁翻板液位計廠家防腐磁翻板液位計連接小管的內襯是如何加工的”的相關介紹,如欲了解更多物位開關(料位開關、液位開關)、物位計(料位計、液位計)等物位測量儀表方面的知識,歡迎關注微信公眾號:Jiweimeter。
上一條:同是差壓式流量計,為什么V錐流量計比孔板流量計更有優勢
下一條:縮短國產儀表與進口儀表的差距要從哪十個方面下功夫
- 相關文章
-
- 雷達液位計的作用 【2025-11-18】
- 雷達液位計使用注意事項 【2025-11-18】
- 雷達液位計安裝注意事項全解析 【2025-11-14】
- 雷達液位計工作原理及相關說明 【2025-11-14】
- 壓力變送器常見故障 【2023-12-31】
- 液位變送器連接用什么線 【2023-12-23】
- 液位變送器供應商家 【2023-12-30】
- 地下管道中的測水流量計的選型方案分析 【2016-05-24】
- 中國的智能儀器儀表行業發展需要持續推動 【2014-11-04】
- 法蘭液位變送器制造商 【2024-01-05】








