- 雷達液位計料位計系列產品
- 壓力/液位/差壓/密度變送器
- 液位儀表系列
- 流量儀表系列
- 物位儀表系列
- 液位/溫度/壓力/流量-報警儀
- PLC/DCS自動化控制監控系統
- GPRS無線遠傳裝置
- 有紙/無紙記錄儀系列
- 溫度儀表系列
- 分析儀|檢測儀|校驗儀系列
電話:86 0517-86917118
傳真:86 0517-86899586
銷售經理:1560-1403-222 (丁經理)
??? ? ? ? 139-1518-1149 (袁經理)
業務QQ:2942808253 / 762657048
網址:http://m.hnbz8.com
外夾式超聲波流量計完整安裝步驟及標準調試規范
在流量測量領域,各種類型的新型流量測量儀表不斷地推陳出新,除了傳統型的孔板流量計、渦輪流量計等,超聲波流量計作為流量測量儀表的新寵異軍突起,以其安裝方便快捷,測量數據精確,后期維護簡便易行的特點受到許多用戶的青睞,尤其是其中的外夾式超聲波流量計種類,更是安裝靈活,設置簡單方便。潤中儀表科技有限公司作為一家**生產流量計的廠家,近年來向市場推出的一款RZ-1158C外夾式超聲波流量計市場反響火爆,銷量日益攀升,在大管道的污水測量,各類污水處理單位,石化企業、制藥和供水行業得到了**的應用。本文就超聲波流量計安裝及使用的整個步驟和要點作出介紹,當然也適于RZ-1158C型外夾式超聲波流量計。相信讀者在閱讀此文后對超聲波流量計的整個安裝和使用會有一個清晰的了解,也會對日常的儀表測量過程的控制有更好的指導作用。
超聲波流量計的安裝規程細解
超聲波流量計在安裝之前應了解現場情況,包括:
1.安裝傳感器處距主機距離為多少;
2.管道材質、管壁厚度及管徑;
3.管道年限;
4.流體類型、是否含有雜質、氣泡以及是否滿管;
5.流體溫度;
6.安裝現場是否有干擾源(如變頻、強磁場等);
7.主機安放處四季溫度;
8.使用的電源電壓是否穩定;
9.是否需要遠傳信號及種類;
根據以上提供的現場情況,廠家可針對現場情況進行配置,必要情況下也可特制機型。
選擇安裝位置
選擇安裝管段對測試精度影響很大,所選管段應避開干擾和渦流這兩種對測量精度影響較大的情況,一般選擇管段應滿足下列條件:
1、避免在水泵、大功率電臺、變頻,即有強磁場和震動干擾處安裝機器;
2、選擇管材應均勻致密,易于超聲波傳輸的管段;
3、要有足夠長的直管段,安裝點上游直管段必須要大于10D(注:D=直徑),下游要大于5D;
4、安裝點上游距水泵應有30D距離;
5、流體應充滿管道;
6、管道周圍要有足夠的空間便于現場人員操作,地下管道需做測試井,測試井如下:
確定探頭安裝方式
超聲波流量計一般有兩種探頭安裝方式,即Z法和V法。
但是,當D < 200mm而現場情況為下列條件之一者,也可采用Z法安裝:
1、當被測量流體濁度高,用V法測量收不到信號或信號很弱時;
2、當管道內壁有襯里時;
3、當管道使用年限太長且內壁結垢嚴重時;
對于管道條件較好者,即使D稍大于200mm,為了提高測量精度,也可采用V法安裝。
求得安裝距離,確定探頭位置
1、將管道參數輸入儀表,選擇探頭安裝方式,得出安裝距離;
2、在水平管道上,一般應選擇管道的中部,避開頂部和底部(頂部可能含有氣泡、底部可能有沉淀);
3、V法安裝:先確定一個點,按安裝距離在水平位置量出另一個點。
Z法安裝:先確定一個點,按安裝距離在水平位置量出另一個點,然后測出此點在管道另一側的對稱點。
管道表面處理
確定探頭位置之后,在兩安裝點±100mm范圍內,使用角磨砂輪機、銼、砂紙等工具將管道打磨至光亮平滑無蝕坑。
要求:光澤均勻,無起伏不平,手感光滑圓潤。需要特別注意,打磨點要求與原管道有同樣的弧度,切忌將安裝點打磨成平面,用酒精或汽油等將此范圍擦凈,以利于探頭粘接。
探頭與儀表接線
微調探頭位置
接完線后把探頭內部用硅膠注滿,放置半小時,然后用硅膠和卡具把探頭固定到打磨好的管道上(注意探頭方向,引線端向外),然后觀察儀表的信號強度、良度與傳輸時間比,如發現不好,則細微調整探頭位置,直到儀表的信號達到規定的范圍之內:
(信號強度:一般應大于6.5,少數可根據現場具體情況另定。)
(信號良度:低峰值一般為7~14,高峰值一般為25~80。)
(傳輸時間比:在100±4范圍之內,此值必須穩定。)
固定探頭
儀表信號調整好以后,用所配卡具將探頭固定好,注意不要使鋼絲繩傾斜,以免拉動探頭,使探頭移位,再用硅膠將探頭與管道接觸的四周封住。此膠凝固大約需一天時間,在未干之前必須注意探頭防水。(信號線的外屏蔽線必須可靠接地)。
超聲波流量計主要技術指標:
|
|
插入式超聲波流量計 |
管段式超聲波流量計 |
外加式超聲波流量計 |
|
|||
|
管徑范圍(mm) |
DN80-4000 |
DN20-2000 |
DN20-4000 |
|
|||
|
流速范圍(m/s) |
0.01~12 |
|
|
|
|||
|
準確度(%) |
單聲道 |
雙聲道 |
三聲道 |
單聲道 |
雙聲道 |
三聲道 |
1.5 |
|
1.0 |
1.0 |
0.5 |
1.0(校正0.5) |
0.5 |
0.5 |
|
|
|
測量介質 |
飲用水、河水、海水、地下水、冷卻水、高溫水、污水、潤滑油、柴油、燃油、化工液體、其他均質流體 |
|
|
|
|
|
|
|
管道材質 |
金屬(如碳鋼、鑄鐵、不銹鋼、鋁等)非金屬材質(如PVC,有機玻璃等) |
|
|
|
|
|
|
|
管襯材質 |
玻璃鋼、沙漿、橡膠等 |
|
|
|
|
|
|
|
信號輸出 |
1、4-20mA:阻抗小于800Ω,光電隔離,準確度0.1%。 |
|
|
|
|
|
|
|
鍵 盤 |
2×8漢字鍵盤 |
|
|
|
|
|
|
|
顯示器 |
2×10漢字顯示或英文顯示 |
|
|
|
|
|
|
|
測量功能 |
顯示瞬時流量、瞬時流速、正累計流量、負累計流量、凈累計流量、累計運行時間、瞬時供熱量、累計共熱量、斷電時間等。 |
|
|
|
|
|
|
|
數據存貯 |
可存貯前720小時,前365天,前36個月和前十年的測量數據,包括瞬時流量、累計流量、斷電時間等。 |
|
|
|
|
|
|
|
環境溫度 |
轉換器:-10~45℃(特殊環境請說明) |
|
|
|
|
|
|
|
傳感器材質 |
不銹鋼和陶瓷 |
不銹鋼和普通碳鋼 |
常溫型為尼龍高溫型為合金鋁 |
|
|
|
|
|
傳感器承壓能力 |
管內部分壓力小于4.5MPa |
DN20~700mm小于2.5MPa |
與管道內壓力無關建議不浸水工作 |
|
|
|
|
|
傳感器防護等級 |
IP68 |
|
|
|
|
|
|
|
轉換器防護等級 |
壁掛式轉換器:IP65 盤裝式轉換器:IP52 一體式轉換器:IP67 |
|
|
|
|
|
|
|
防爆等級 |
EXdⅡBT6 |
|
|
|
|
|
|
|
傳感器電纜長度 |
< 500m |
< 500m |
< 300m |
|
|
|
|
|
傳感器電纜型號 |
專用電纜SEYV-75-2(直徑7mm),越短越好,減少干擾,也可以加長到300m若長要加粗電纜 |
|
|
|
|
|
|
|
工作電源 |
AC220V, DC12~36V 0.8A (可選) |
|
|
|
|
|
|
|
轉換器外形尺寸 |
壁掛式:213×185×107mm 盤裝式:160×80×250mm 一體式:185×140×100mm |
|
|
|
|
|
|
|
傳感器外形尺寸 |
220×ø20(桿部)×ø50(連接部)mm |
見管段傳感器數據表 |
60×40×35mm |
|
|
|
|
|
轉換器重量 |
壁掛式:1.2Kg 盤裝式:0.8Kg 一體式:1.4Kg |
|
|
|
|
|
|
|
傳感器重量 |
0.7Kg/支 |
見管段傳感器數據表 |
0.2Kg/支 |
|
|
|
|
|
熱量測量功能 |
測量供熱量、熱損耗、入口溫度、出口溫度 |
|
|
|
|
|
|
安裝超聲波流量計可按照以下步驟操作:
一:觀察安裝現場管道是否滿足直管段前10D后5D以及離泵30D的距離。(D為管道內直徑)
二:確認管道內流體介質以及是否滿管。
三:確認管道材質以及壁厚(充分考慮到管道內壁結垢厚度)
四:確認管道使用年限,在使用10左右的管道,即使是碳鋼材質,好也采用插入式安裝。
五:前四步驟完成后可確認使用何種傳感器安裝
六:開始向表體輸入參數以確定安裝距離。
七:非常重要:精確測量出安裝距離。
(1) 外夾式可選安裝傳感器大概距離,然后不斷調試活動傳感器以達到信號和傳輸比好的匹配
(2) 插入使用專用工具測量管道上安裝點距離,這個距離很重要,它直接影響表的實際測量精度,所以好進行多次測量以求較高精度。
八:安裝傳感器——調試信號——做防水——歸整好信號電纜——清理現場線頭等廢棄物 ——安裝結束——驗收簽字
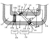
圖紙分解

超聲波流量計原理圖
包括:測量流動通道6,被測量的流體通過其中流動;超聲波換能器8和9,分別設置在沿測量流動通道6彼此相對的上游端和下游端;上游孔眼11和下游孔眼12,用于使超聲波換能器8和9暴露于該測量流動通道6;*先流體抑制器15,至少鄰近下游孔眼12,用于減少被測量的流體流入孔眼12;二流體抑制器16,被設置在測量流動通道6的上游端并相對于孔眼11和12,用于減少被測量的流體流入孔眼11和12;測量控制部件19,用于測量超聲波換能器8和9之間的超聲波的傳播時間;及計算部件20,用于根據該測量控制部件19的信號計算流量。為下游孔眼12設置的*先流體抑制器15包括具有至少一個超聲波傳輸孔22的孔眼密封部件21。因此,有可能穩定超聲波換能器之間的流體,以便增強超聲波的接收水平,從而提高測量精度和對流量測量的上限值,并減少對于超聲波換能器的驅動輸入。

超聲波流量計安裝調試可按照以下步驟操作:
一:觀察安裝現場管道是否滿足直管段前10D后5D以及離泵30D的距離。(D為管道內直徑)
二:確認管道內流體介質以及是否滿管。
三:確認管道材質以及壁厚(充分考慮到管道內壁結垢厚度)
四:確認管道使用年限,在使用10左右的管道,即使是碳鋼材質,好也采用插入式安裝。
五:前四步驟完成后可確認使用何種傳感器安裝
六:開始向表體輸入參數以確定安裝距離。
七:非常重要:精確測量出安裝距離。
(1) 外夾式超聲波流量計可選安裝傳感器大概距離,然后不斷調試活動傳感器以達到信號和傳輸比好的匹配
(2) 插入使用專用工具測量管道上安裝點距離,這個距離很重要,它直接影響表的實際測量精度,所以好進行多次測量以求較高精度。
八:安裝傳感器——調試信號——做防水——歸整好信號電纜——清理現場線頭等廢棄物——安裝結束——驗收簽字
本文由潤中儀表科技有限公司整理發布。
上一條:保證外夾式超聲波流量計準確測量的操作要領
下一條:工業可燃氣體檢測儀器儀表管理規范規定
- 相關文章
-
- 雷達液位計的作用 【2025-11-18】
- 雷達液位計使用注意事項 【2025-11-18】
- 雷達液位計安裝注意事項全解析 【2025-11-14】
- 雷達液位計工作原理及相關說明 【2025-11-14】
- 遠傳型RZ-UHZ磁翻板液位計的工作原理及其應用前景 【2017-02-15】
- 淺析差壓流量計在流量測量過程中的使用與維護 【2017-07-05】
- 孔板流量計安裝時必須要符合的技術要求及直管段長度一覽表 【2015-07-07】
- 凈化水處理行業用于流量測量的常見的幾種流量儀表選擇方案 【2016-10-04】
- 淺析在染料生產工藝中如何正確造型合適的流量計 【2015-09-08】
- 壓力變送器在立式金屬罐底量與浮頂質量測量中的應用研究 【2017-07-18】








